请选择 进入手机版 | 继续访问电脑版

搜索
加国同城 首页 新闻资讯 娱乐八卦 查看内容

74岁刘晓庆被举报偷漏税 税务部门将展开稽查

2025-5-15 08:44| 发布者:青青草| 查看:259| 评论:0 |来自: 羊城晚报

摘要:5月15日,74岁的演员刘晓庆被深圳的王先生实名举报涉嫌偷税漏税。王先生指控刘晓庆在上海的全资公司上海弈熙文化传媒中心通过开具增值税发票的方式规避个人所得税。他提供了检举税收违法行为记录单,显示刘晓庆涉及3 ...
 5月15日,74岁的演员刘晓庆被深圳的王先生实名举报涉嫌偷税漏税。

王先生指控刘晓庆在上海的全资公司上海弈熙文化传媒中心通过开具增值税发票的方式规避个人所得税。

他提供了检举税收违法行为记录单,显示刘晓庆涉及330万元的交易,用“形象代言费”名义将款项转入公司,随后开出低税率的增值税发票,疑逃避高税率的个人所得税。

王先生称,目前上海市税务局第四稽查局已受理此案,将对刘晓庆及相关公司展开调查。

千禧年初的刘晓庆税案风波在当年引发轩然大波,据《民主与法治杂志》2019年对此案的梳理回顾,2002年5月3日刘晓庆被曝因涉税被羁押,5月6日下午刘晓庆在北京五洲大酒店召开记者发布会回应事件。

在发布会上刘晓庆称在晓庆文化艺术公司她作为董事长只负责艺术制作方面的相关业务,而整个公司的经营则由公司的总经理靖军负责,对税务问题不清楚,她曾警告过靖军不要在偷税漏税上做文章。

5月12日公安机关正式逮捕了晓庆文化艺术有限责任公司总经理,刘晓庆的妹夫靖军,以后又批捕了刘晓庆的妹妹刘晓红及晓庆公司会计某某,6月20日上午刘晓庆被公安人员从北京玫瑰园带走。

7月24日,经北京市人民检察院第二分院批准,刘晓庆被依法逮捕。据北京市地税局第一稽查分局调查证实,北京晓庆文化艺术有限责任公司1996年以来采取不列、少列收入,多列支出,虚假申报等手段偷逃巨额税款,已涉嫌偷税犯罪。

2003年8月16日刘晓庆取保候审离开北京第一看守所,2004年考虑到刘晓庆的犯罪情节轻微,并能积极筹款补缴税款等诸多因素,朝阳检察院做出了不起诉的决定。

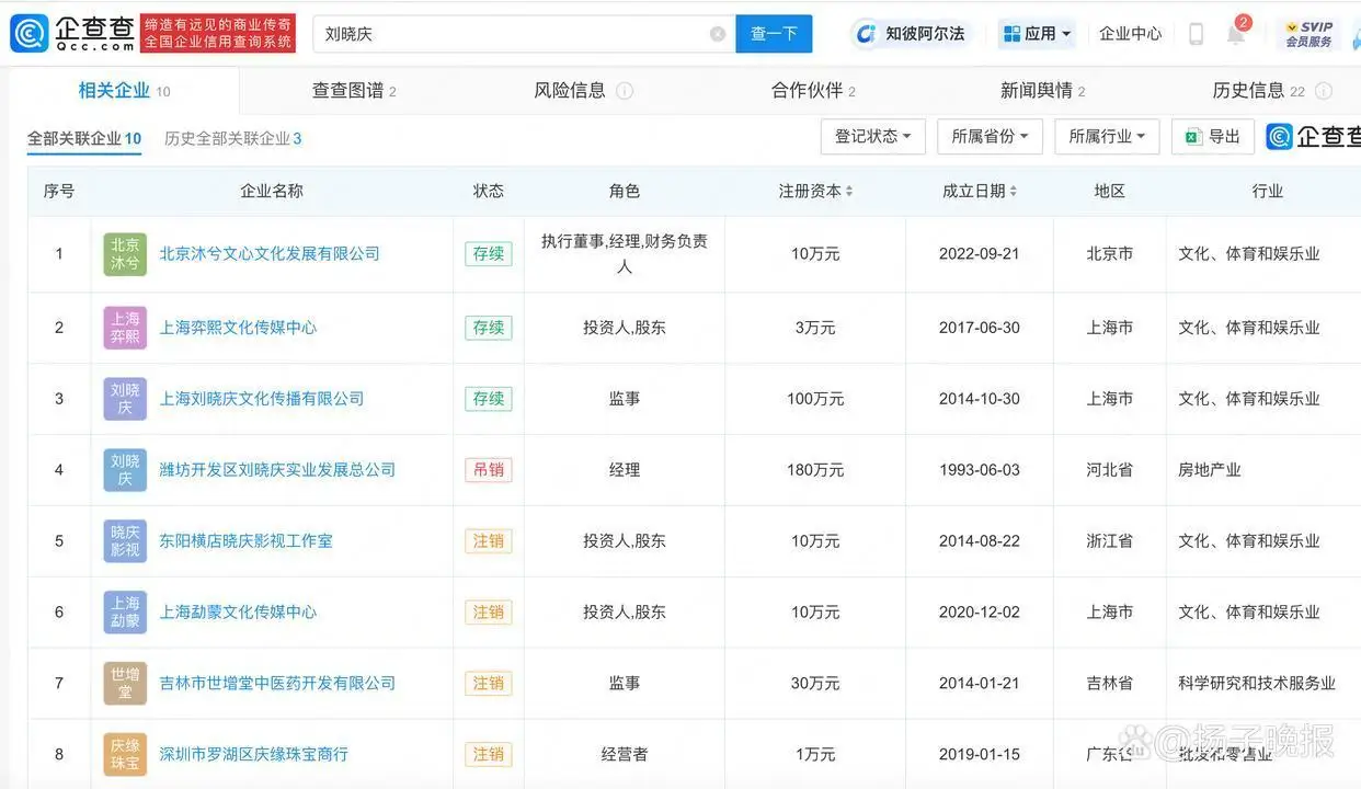
据企查查信息显示,刘晓庆名下关联10家企业,7家为吊注销状态,仅3家公司存续,行业均涉及文化、体育和娱乐业。其担任被指控的上海弈熙文化传媒中心投资人角色,该公司成立于2017年6月,出资额3万元。

近期,刘晓庆积极投身综艺、演艺事业,参演综艺《一路繁花》引发热议。近日,她还进军了短剧行业,搭档37岁男演员出演首部短剧《萌宝助攻:五十岁婚宠》亦引发关注,此外,刘晓庆还在直播间活跃,出售个人书法作品。


路过

雷人

握手

鲜花

鸡蛋

最新评论

联系客服 关注微信 返回顶部